Digital Temperature Sensor-Thermal Watchdog
NXP Semiconductors introduces their digital temperature sensor and thermal watchdog
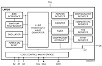
NXP's LM75B is a temperature-to-digital converter using an on-chip band gap temperature sensor and ΣΔ A-to-D conversion technique with an over-temperature detection output. The LM75B contains a number of data registers: configuration register (conf.) to store the device settings such as device operation mode, OS operation mode, OS polarity and OS fault queue; temperature register (temp.) to store the digital temp reading; and set-point registers (Tos and Thyst) to store programmable over-temperature shutdown and hysteresis limits that can be communicated by a controller via the 2-wire serial I2C-bus interface. The device also includes an open-drain output (OS), which becomes active when the temperature exceeds the programmed limits. There are three selectable logic address pins so that eight devices can be connected on the same bus without address conflict.
The LM75B can be configured for different operation conditions. It can be set in normal mode to periodically monitor the ambient temperature, or in shutdown mode to minimize power consumption. The OS output operates in either of two selectable modes: OS comparator mode or OS interrupt mode. Its active state can be selected as either HIGH or LOW. The fault queue that defines the number of consecutive faults in order to activate the OS output is programmable as well as the set-point limits.
| Features | ||
|
|
|
| Applications | ||
|
|
Digital Temperature Sensor
| Image | Manufacturer Part Number | Description | Available Quantity | Price | ||
|---|---|---|---|---|---|---|
![]() | ![]() | LM75BD,118 | SENSOR DIGITAL -55C-125C 8SO | 12314 - Immediate | $0.44 | View Details |



